TOTO TLK08S05JA 取扱説明書 商品図面 施工説明書 分解図
各種図面のご利用については 免責事項をご確認の上ご利用ください。
TLK01101JB 機能部取扱説明書
このデータは2023年2月 現在のものです。
TLK01101JB 機能部商品図面
このデータは2023年2月 現在のものです。
TLK08002J スパウト部商品図面
このデータは2023年2月 現在のものです。
TLK01101JB 機能部施工説明書
このデータは2023年2月 現在のものです。
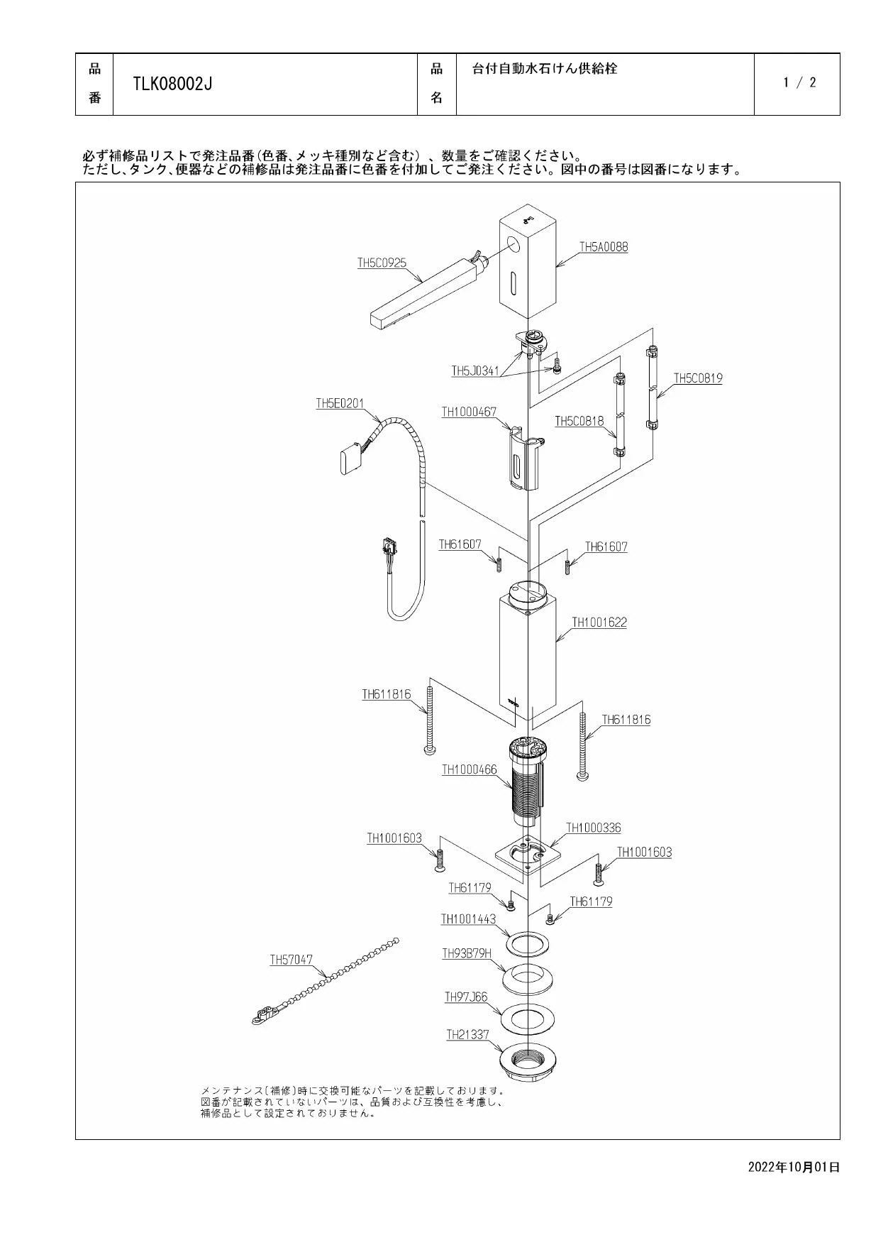
TLK08002J スパウト部分解図
このデータは2023年2月 現在のものです。




















